Hướng dẫn chọn bơm piston
1. Phân loại bơm thủy lực piston.
4. Hướng dẫn chọn bơm thủy lực piston.
1. Phân loại bơm thủy lực piston.
Bơm piston là loại bơm thủy lực dựa trên nguyên tắc thay đổi thể tích của cơ cấu piston – Xi lanh. Vì bề mặt làm việc của cơ cấu này là mặt trụ, do đó dễ dàng đạt được độ chính xác gia công cao, bảo đảm hiệu suất thể tích tốt, có khả năng thực hiện được với áp suất làm việc lớn (áp suất lớn nhất có thể đạt được là p = 700 Bar với bơm piston hướng kính).
Bơm piston thường dùng ở hệ thống thủy lực yêu cầu áp suất cao và lưu lượng lớn như máy truốt, máy xúc… Dựa trên cách bố trí piston, bơm piston có thể được phân thành hai loại:
+ Bơm piston hướng trục.
+ Bơm piston hướng kính.
Bơm thủy lực piston có thể chế tạo với lựu lượng cố định hoặc lưu lượng điều chỉnh được.
2. Bơm piston hướng kính.
Bơm piston hướng kính là loại bơm thủy lực có piston đặt hướng vào tâm trục của rô to, tùy thuộc vào số piston trong bơm mà ta có các loại bơm thủy lực piston như: Bơm piston hướng kính đơn; Bơm piston hướng kính kép; Bơm piston hướng kính 3 piston; Bơm piston hướng kính 5 piston… Bơm piston hướng kính là loại bơm thủy lực có áp suất rất lớn (có thể lên tới 700Bar).

Hình 1. Bơm piston hướng kính
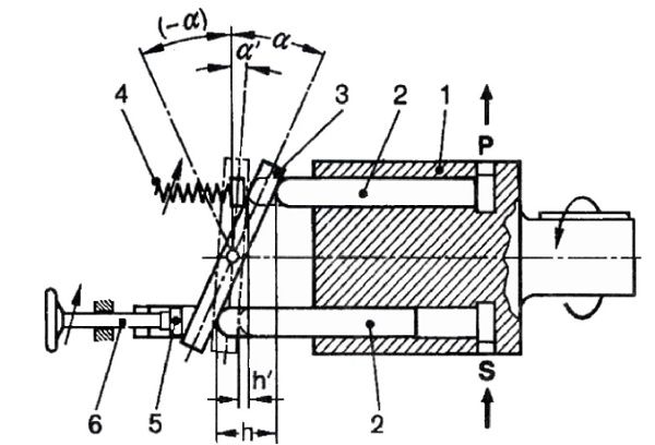
Với bơm piston hướng kính có thể điều chỉnh được lưu lượng (như trên hình 2) thì lưu lượng của bơm sẽ thay đổi khi ta điều chỉnh độ lệch tâm.
Piston (3) bố trí trong các lỗ hướng tâm rô to (6), quay chung quanh trục (4). Nhờ các rãnh và lỗ bố trí thích hợp trên trục phân phối (7), có thể nối lần lượt các xi lanh trong một nửa vòng quay của rô to với khoang hút và nữa kia với khoang đẩy.
Sau một nửa vòng quay của rô to, mỗi piston thực hiện một khoảng chạy kép có độ lớn bằng 2 lần độ lệch tâm e.

Hình 2. Kết cấu bơm piston hướng kính điều chỉnh được lưu lượng.
3. Bơm piston hướng trục.
Bơm piston hướng trục là loại bơm thủy lực có piston đặt song song với trục của rô to và được truyền bằng khớp hoặc bằng đĩa nghiêng. Ngoài những ưu điểm của bơm piston hướng kính, bơm piston hướng trục còn có ưu điểm nữa là kính thước của nó nhỏ gọn hơn khi cùng một cỡ với bơm hướng kính.
Ngoài ra so với tất cả các loại bơm khác, bơm piston hướng trục có hiệu suất tốt nhất và có hiệu suất hầu như không phụ thuộc vào tải trọng và số vòng quay.

Hình 3. Bơm piston hướng trục
|
1- Piston 2- Xi lanh 3- Đĩa dẫn dầu |
4- Góc nghiêng 5- Piston 6- Trục truyển động |
Bơm piston hướng trục hầu hết là điều chỉnh lưu lượng được (xem hình 4). Trong công nghiệp người ta sử dụng loại bơm thủy lực này khi lưu lượng yêu cầu ít nhất là 30 lít/ph. Ở áp suất lớn, lưu lượng nhỏ bơm chỉ làm việc ở chế độ không liên tục do khả năng làm nguội kém và chóng mòn.
Trong các loại bơm thủy lực piston, độ không đồng đều của lưu lượng không chỉ phụ thuộc vào đặc điểm chuyển động của piston mà còn phụ thuộc vào số lượng piston.

Hình 4. Bơm piston hướng trục điều chỉnh được lưu lượng
|
1- Thân bơm 2- Piston 3- Đĩa nghiêng |
4- Lò xo 5;6 – Tay quay điều chỉnh góc nghiêng |
4. Hướng dẫn chọn bơm thủy lực piston.
+ Đảm bảo các lưu ý Hướng dẫn phân loại và chọn bơm thủy lực phù hợp.
+ Đối với bơm piston hướng trục: Dải lưu lượng từ 15 ÷ 300 cc; Dải áp suất làm việc từ 210 ÷ 450 Bar.
+ Đối với bơm piston hướng kính: Dải lưu lượng từ 0.4 ÷ 20 cc; Dải áp suất làm việc từ 450 ÷ 700 Bar.
+ Dải tốc độ làm việc từ 400 ÷ 4000 vg/ph.
+ Tham khảo bảng giá bơm thủy lực piston tại đây!
Ở Việt Nam hiện nay dòng bơm piston hướng trục là phổ biến và nhập khẩu từ nhiều nước như Italy, Đức, Đài Loan, Nhật Bản, Trung Quốc… Vì vậy khi không yêu cầu đặc biệt (áp suất làm việc không lớn hơn 450 Bar) nên chọn loại bơm piston hướng trục vì giá cả vừa phải và dễ tìm mua. Hiện nay có nhiều bơm Trung Quốc nhái theo kiểu dáng và mã của các hãng bơm Đức vì vậy khi mua hàng cần chú ý xuất xứ hàng hóa và lựa chọn đơn vị cung cấp uy tín có chế độ bảo hành tốt!
Ngoài ra công ty Amech chuyên cung cấp vật tư thủy lực chính hãng với chất lượng phù hợp nhu cầu của khách hàng như: Bộ nguồn thủy lực (thiết kế theo yêu cầu hoặc bộ nguồn tiêu chuẩn, bộ nguồn mini); Xi lanh thủy lực (Loại tiêu chuẩn, loại thiết kế theo yêu cầu sử dụng); Van an toàn thủy lực; Van điều khiển thủy lực các loại; Bộ lọc dầu thủy lực; Đồng hồ đo áp suất; Rơ le áp suất thủy lực; Cảm biến áp suất… Với linh kiện xuất xứ EU, G7, Việt Nam…
Mọi thắc mắc và yêu cầu hỗ trợ có thể liên hệ trực tiếp tới số Hotline 09.3838.8583 (có Zalo) hoặc gửi mail sales.amech@gmail.com để được tư vấn.